
Huawei đang mở rộng tập trung vào công nghệ AR và VR. Bằng sáng chế mới xuất bản từ Cơ quan Sở hữu Trí tuệ Quốc gia Trung Quốc (CNIPA) cho thấy hãng đang nghiên cứu hệ kính thông minh tương tác với dây đeo tháo rời, có thể biến thành một chiếc vòng thông minh.
Hồ sơ bằng sáng chế này, được công bố dưới số CN120871434A, mô tả một thiết bị tương tác nhỏ gọn có thể kết nối với kính thông minh để điều khiển liền mạch và tăng cường trải nghiệm đắm chìm. Bằng sáng chế này, do Huawei Technologies Co., Ltd. đệ trình, liệt kê Chen Qi và Yang Linlin là các nhà phát minh, cho thấy khái niệm này đã ở giai đoạn Nghiên cứu & Phát triển (R&D) nâng cao trong bộ phận thiết bị đeo của Huawei.
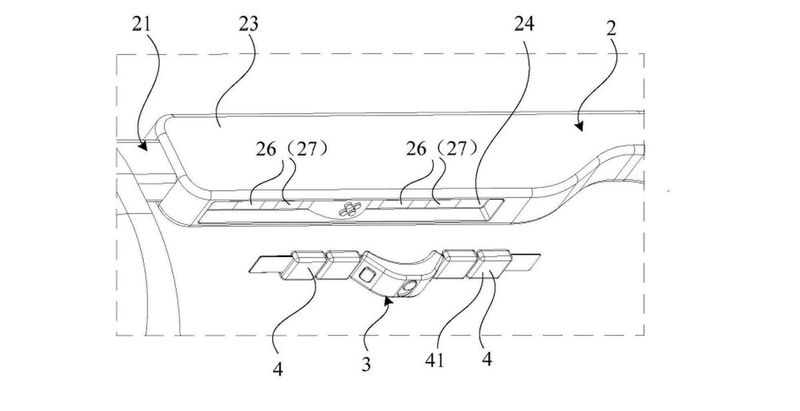
Tài liệu bằng sáng chế nêu rõ rằng kính thông minh của Huawei bao gồm một bộ phận linh hoạt dạng dây đeo, có thể được đeo vào ngón tay giống như một chiếc nhẫn khi tháo rời. Ở dạng này, nó hoạt động như một thiết bị điều khiển cho việc chơi game, nhận dạng cử chỉ, trỏ và điều hướng, hỗ trợ các trường hợp sử dụng tương tác cao như chơi game AR hoặc điều khiển không gian làm việc ảo.
Khi được gắn lại vào kính, nó cung cấp các chức năng đơn giản hơn như chạm và vuốt, và thậm chí còn tự động sạc, loại bỏ nhu cầu về một bộ điều khiển riêng biệt.
Thiết kế hai chế độ này giúp cân bằng giữa tương tác mạnh và nhẹ. Người dùng có thể điều khiển cử chỉ toàn diện khi trải nghiệm AR/VR và giảm thao tác khi xem nội dung thụ động như xem video. Bằng sáng chế cũng nhấn mạnh khả năng gắn từ tính, giao tiếp không dây và cảm biến quán tính để phát hiện chuyển động chính xác.
Tài liệu còn mô tả một cấu trúc mô-đun với nhiều đơn vị chức năng, chẳng hạn như khu vực cảm ứng và các nút cơ học, cho phép cả phản hồi xúc giác và dựa trên cử chỉ để tăng cường khả năng phản hồi của người dùng trong các ứng dụng AR và VR khác nhau.
Ý tưởng của Huawei tập trung vào sự thoải mái, gọn nhẹ và tương tác mượt giữa vòng và kính. Khi gắn vào kính, vòng nằm trong rãnh của khung kính, tạo vẻ ngoài gọn gàng và giúp cất giữ tiện hơn.
Hiện Huawei chưa công bố kế hoạch thương mại, nhưng sáng chế này cho thấy mục tiêu tạo thiết bị AR/VR linh hoạt, dễ dùng hơn.
Theo dõi Tablet Plaza thường xuyên để cập nhật thông tin công nghệ mới nhanh chóng.
Nguồn: Xpertpick
